熱門搜索:
產品介紹
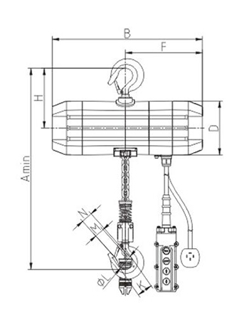
風電工業專用環鏈電動葫蘆一風機環鏈電動葫蘆可以可靠的提升風機系統推護工作中所需的零部件和工具
風機葫蘆起重量可達1000公斤,起升高度可達130米,安裝在旋臂吊或移動龍門上,可以輕松方便的快速提升你所需的工具和零部件。在相同的操作條件下,風機葫蘆鏈條可以收進大鏈袋里。也可以通過導管送收納到獨立的容器中,同時,風機葫蘆配置和低點限位裝置:可選配的小車鎖緊裝置,保證小車在任意位置牢固的停止。
風機環鎖電動防產優點:
維護方便:耐用的銅構設計簡化了零部件的維護及更換;
選擇類別范圍寬:環鏈電動葫蘆分為:單速或雙速。懸掛鉤或者帶有手動或電動的小車,還有舞臺與風機三項或單項及更多選擇。可根據客戶的需要滿足不同需求;
過載保護:為增加額外的安全性,這對于保護操作者、葫蘆及負載時一特殊裝置,當載重大于設置值時,過載保護啟用,葫蘆將自動停止;
鑲表面硬化:鑲硬化鏈條經過特殊處理,不影響原始的鏈條性能。鑲硬化鏈條具有卓越的性能,可以抗雨水,海水,溪水及化學物質引起的繡蝕;
先進設計:由于采用流線型,耐用鋼結構及極好的平衡設計,所以3噸M6型采用一根鏈條的設計。 尤其具有低凈空高度和高效率;
24-36伏電壓控制: 24-36伏低電壓控制保護操作者以防止受到電擊傷害;


